十大足彩平台

您当前的位置: 首页 > 要闻动态 > 政务动态

出租汽车驾驶员从业资格证省内异地约考办理看这里!

时间:2023-04-27 14:53 来源:吉林省交通运输厅
【字体: 打印

  为持续深化“放管服”改革,优化交通运输领域营商环境,着力解决出租汽车驾驶员反映强烈的痛点堵点问题,省交通运输厅决定从5月1日起,全面实行出租汽车驾驶员从业资格证省内异地预约、考试,网上领取电子证照。

  驾驶员可通过吉林省道路运输从业资格自助服务端:(http://www.jlcypt.com:8082/self/)或从业自助APP(安卓系统)进行出租汽车驾驶员从业资格证约考和证照下载。

  如何办理?请看这里——

  第一步:网上报名。登录吉林省道路运输从业资格自助服务端,完成注册后进入个人中心,点击资格证申办,申请人可以选择资格证类别、资格证申办地区进行报名,及时上传申报材料,并在“我的申请”中查看审核通过情况。

  第二步:考试预约。审核通过后,申请人选择考试预约,在这里可以查看近期全省各地区25个从业资格考场的考试计划和预约情况,申请人可结合个人实际选择省内任意考场预约考试。预约成功后会收到短信提醒,考生按照规定的时间、地点参加考试。

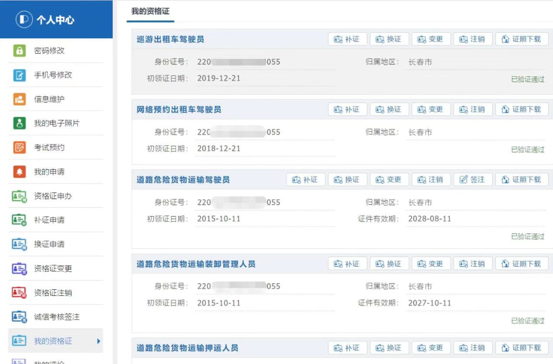
  第三步:证照下载。考试成绩合格的,系统会自动生成电子证照,申请人可以在“我的资格证”中,选择相应的从业资格证类别,点击证照下载,并通过吉事办APP或小程序绑定和使用电子证照。


威尼斯人赌场app 亚洲博彩平台排名 足球app 十大彩票游戏平台 威尼斯人博彩app